audiomap.de - HiFi Heimkino Guide




myaudiomap - meine Daten
meine audiomap - mitglieder infobox
 
Top-Links
home » wissen » weichendesign
Weichendesign zurück

Die Berechnung passiver Frequenzweichen

Die korrekte Weichenentwicklung bei einer Mehrwegekombination ist sehr umfangreich. Dennoch lassen sich oft mit wenigen Handgriffen brauchbare Klangergebnisse erzielen: 80% des Klangergebnisses werden meist mit 20% des Aufwandes erreicht. Dass das Ergebnis nicht so perfekt werden kann, wie die Arbeit eines mit professionellem Messequipement ausgerüsteten, erfahrenen Lautsprecherentwicklers, ist klar. Dennoch sind die Unwägbarkeiten viel zu groß, als dass eine exakte Berechnung gute Ergebnisse liefern würde. Experimentell dimensionierte Passivweichen führen oft eher zum Erfolg, als komplizierte Berechnungen. Es kommt weniger auf die theoretischen Bauteilewerte, als vielmehr auf das akustische Ergebnis an

Befindet sich eine Passivweiche noch im Stadium der Klangabstimmung, ist es praktikabel, die Bauteile mithilfe von Krokodilklemmkabeln zu verbinden. Verlötet man die Frequenzweiche, sollten die Drahtbeinchen der einzelnen Bauteile erst dann auf die entgültige Länge gekürzt werden, wenn man sich nach einem längeren Probelauf sicher ist, dass kein Bauteil mehr ausgetauscht werden muss. Wichtig: Bei jeder Bauteileveränderung an den Weichen müssen die einzelnen Chassispaare unter Umständen umgepolt werden.

 

Flankensteilheiten

Die Weichenbauteile werden bei 6 dB-Weichen den jeweiligen Lautsprecherchassis vorgeschaltet, bzw. bei 12-dB-Weichen zusätzlich parallelgeschaltet (Qualität siehe Weichenbauteile). Die Flankensteilheit wird in dB/Oct. Angegeben (Dezibel pro Oktave, eine Oktave entspricht einer Frequenzverdopplung bzw. -halbierung).

Passivweichen hoher Flankensteilheit sind mit den gängigen Werten und den üblichen Toleranzen gewöhnlicher Passivbauteile nur schwer zu berechnen, da hierzu die genaue Kenntnis des Impedanzverlaufes, des Polardiagrammes (Rundstrahlverhalten) und des Phasenverhaltens (zeitliche Abstrahlfehler) der einzelnen Lautsprecherchassis erforderlich ist. Jede Berechnung ohne diese Daten kommt einer Schätzung gleich. Mit vertretbarem Aufwand bzw. ohne Messgeräte sind deshalb nur Passivweichen erster und zweiter Ordnung (Flankensteilheit 6 bzw. 12 dB/Oct.) realisierbar, weshalb wir uns im Folgenden auf diese beiden Filtertypen beschränken. Für höhere Flankensteilheiten wird auf entsprechende Fachliteratur verwiesen. Die unten vorgestellten Formeln sind in der Praxis die wichtigsten zur Weichenentwicklung (zuzüglich Spannungsteiler und passive Equalizer).

 

Weichen Erster Ordnung

In ihrer einfachsten Form besteht die Passivweiche aus einem dem Hochtöner vorgeschalteten Kondensator (möglichst in Folienausführung), der tiefe Frequenzen unterhalb der Trennfrequenz abschwächt. So entsteht beim Hochtöner ein Schalldruckabfall von 6 dB pro Oktave zu tiefen Frequenzen hin, die Schwingspule wird vor Überlastungen einigermaßen geschützt, Verzerrungen allerdings nicht immer optimal verhindert. Diese Sparweiche ist bei den allermeisten Koaxiallautsprechern, aber auch bei billigen Komponentensystemen anzutreffen. Wird dem Basslautsprecher eine Spule vorgeschaltet, fällt sein Schalldruck oberhalb der Übergangsfrequenz um 6 dB ab. Da Frequenzweichen erster Ordnung allerdings ein recht gutes Phasenverhalten zeigen, erscheinen sie rein akustisch für Anwendungen im gesamten Frequenzbereich interessant. Bei hoher Leistungszufuhr taugen sie allerdings nur in Verbindung mit Spannungsteilern für den Hochtöner.

 

Theorie kontra Praxis

Theoretisch kann man Frequenzweichen zwar berechnen, indem man eine Impedanz von 8 Ohm bzw. bei Autochassis von 4 Ohm annimmt, praktisch haben aber nur wenige Lautsprecher exakt diese Werte. Zum einen liegt der tatsächliche Wechselstromwiderstand im Bereich der Trennfrequenz oft über, manchmal auch unter dem nominellen Nennscheinwiderstand, und zum anderen ändert sich der Widerstand des Chassis mit der Frequenz: Die Impedanz steigt zu hohen Frequenzen hin an, solange das Chassis keinen (seltenen) Impedanzkontrollring aufweist und es sich nicht um einen magnetostatischen Lautsprecher handelt. Gegebenenfalls muss man dem Chassis zur Impedanzlinearisierung eine Reihenschaltung aus Kondensator und Widerstand parallelschalten.

 

Praxisgerechte Auslegung

Bei Mittelhochtontrennungen muss die Trennfrequenz hoch genug liegen, damit die Resonanzfrequenz des Hochtöners der Trennfrequenz nicht zu nahe kommt. Dann kann man beim Hochtöner davon ausgehen, dass der Nennscheinwiderstand in etwa eingehalten wird, bzw. etwa 20% höher ist, als der Gleichstromwiderstand. Nur ferrofluidgekühlte Hochtöner weisen einen geraden Impedanzgang auf.

Beim Mitteltöner dagegen überschreitet der tatsächliche Wechselstromwiderstand im Bereich der Übergangsfrequenz den nominellen Nennscheinwiderstand von 8 Ohm (bzw. 4 Ohm) umso mehr, je höher die Trennfrequenz bzw. je größer das Mitteltonchassis (bzw. je tiefer die Resonanzfrequenz) ist. Eine höhere Impedanz erfordert eine größere Vorschaltspule für den Mitteltöner, durch den Impedanzanstieg zu höheren Frequenzen bei einem nicht nachträglich impedanzkorrigierten Chassis verringert sich allerdings die Flankensteilheit, so dass man die Spule unter Umständen noch weiter vergrößern muss. Es ist also durchaus möglich, dass sich im Hörtest eine gegenüber der Berechnung wesentlich (bis zum doppelten) größere Spule ergibt.

Die dargestellten Zusammenhänge sind keine vollständige Problembetrachtung, sondern nur ein Hinweis auf die Komplexität des Themas. Es ist also akustisch nur rechtens, sich nicht allzusehr um theoretisch berechnete Werte zu scheren, solange man im Kopf behält, dass Kondensatoren für den Hochtöner nicht größer als berechnet und Spulen für den Mitteltöner nicht kleiner als berechnet eingesetzt werden sollten.

Trennungen im Bassbereich reagieren folgendermaßen: Da sich der Subwoofer vor allem bei komplizierten Gehäusekonstruktionen nicht innerhalb seines linearen Impedanzverlaufes bewegen kann (Bandpassgehäuse besitzen beispielsweise mehrere Impedanzmaxima), sollten ungeübte Lautsprecherbastler generell nur geschlossene oder notfalls Bassreflexssubwoofer (sowie die entsprechenden Compound- bzw. Isobarikversionen) passiv abtrennen.

Für den Tiefmitteltöner gilt wiederum, dass ihm eine hohe Resonanzfrequenz Probleme beim Übergang zum Subwoofer bereiten kann. Der Übergang von Midbässen zu Mitteltönern ist im allgemeinen recht unkritisch, da sich die Impedanzgänge im Bereich der Übergangsfrequenz einigermaßen zivil verhalten.

 

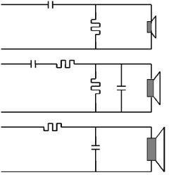
Schaltbild Für Passive 6-Db-Weichen (Hochtöner / Mitteltöner / Tieftöner):

 

 

Formel Für Passive 6-dB-Weichen

Die Formeln gelten für Lautsprecher mit beliebiger Impedanz, wobei Z der Gleichstromwiderstand der Schwingspule und fc der trennfrequenzbestimmende -3dB-Punkt des Überganges ist: 

                                  1.000.000

Kondensator C = --------------- (µF)

                                  2 p∙ Z ∙ fc

 

                  1.000 Z

Spule L = -------- (mH)

                 2 p∙ fc

 

Grob vereinfacht und deshalb handlicher sind folgende hinreichend genaue Näherungsformeln:

8Ω-Näherungsformel Für 6-Db-Weichen

                             25.000

Kondensator C = ------ (µF)

                                  fc

 

                 1000

Spule L = ---- (mH)

                   fc

4Ω-Näherungsformel Für 6-Db-Weichen

                           50.000

Kondensator C = ------ (µF)

                                fc

 

                 500

Spule L = --- (mH)

                  fc

Mit diesen Näherungen kann man ganz gut arbeiten, da die Lautsprecher ja nicht phasenkorrigiert auf einer Messwand sitzen. Merksatz: Die Kondensatorwerte dürfen bei der Klangabstimmung generell verkleinert werden, die Spulen bei Mitteltönern deutlich (auch über das doppelte hinaus), bei Subwoofern und Kickbässen höchstens geringfügig vergrößert werden.

 

Weichen Zweiter Ordnung

  Eine Flankensteilheit von 12 dB/Oct. und somit ein wirkungsvollerer Überlastschutz und vor allem eine größere Verzerrungsfreiheit des Hochtöners wird erreicht, indem zum Hochtöner eine Spule parallelgeschaltet wird. Eine solche Weiche aus zwei Bauteilen für den Hochtöner und einem Bauteil für den Tieftöner kann bei richtiger Abstimmung schon recht ordentlich klingen. Eine echte 12dB-Weiche erhält man jedoch erst durch ein weiteres Bauteil: Analog zur Hochtonweiche wird dem Tieftöner ein Kondensator (hier darf es zur Not auch ein Elektrolytkondensator sein) parallelgeschaltet. Diese zusätzlichen Parallelbauteile werden zur Kostenersparnis meist weniger hochwertig als die in Reihe zu den Chassis geschalteten Bauteile gewählt.

  Eine solche Weiche zweiter Ordnung mit einer Flankensteilheit von 12 dB/Oct. ist bei hochwertigen Mehrwegelautsprechern praktisch Standard und wird bei hochwertigen Mehrwegekombinationen häufig durch einen Spannungsteiler für den Hochtöner und seltener mit einer Impedanzentzerrung ergänzt.

 

Theorie

Nachdem die Weichen erster Ordnung durchschaut wurden, sind auch ihre doppelt so komplizierten Verwandten kein Buch mit sieben Siegeln mehr. Im Prinzip gilt alles für die 6 dB-Weichen festgestellte auch für die 12 dB-Spezies: Hochtonabtrennungen sind oberhalb der Resonanzfrequenz unkritisch, Midbässe mit niedriger Resonanzfrequenz ebenfalls. Mitteltöner sollten für funktionierende Berechnungsformeln impedanzentzerrt werden, Bandpass-Subwoofer dürfen keinesfalls mit 12 dB/Oct. passiv getrennt werden, es sei denn, man steht auf Dröhnbüchsen.

 

Praxisgerechte Auslegung

Während Weichen erster Ordnung sich gegenüber dem Verstärker unkritisch verhalten, sind Weichen zweiter Ordnung bei kritischer Dimensionierung eher in der Lage, ungünstige kapazitive oder induktive Belastungen zu erzeugen. Wer Weichen zweiter Ordnung, besonders unter Verwendung der im folgenden behandelten klanglichen Abstimmtricks einsetzt, ist deshalb mit impedanzstabilen bzw. hochstromfähigen Endstufen beraten.

 

Schaltbild Für Passive 12-Db-Weichen (Hochtöner / Mitteltöner / Tieftöner):

 

 

Formel Für Passive 12-Db-Weichen

Die Formeln gelten für Lautsprecher mit beliebiger Impedanz, wobei Z der Schwingspulen-Gleichstromwiderstand ist:

                                √2 ∙ 1.000.000

Kondensator C = ------------------ (µF)

                                     4p∙ Z ∙ fc

 

                   √2 ∙ 1.000 Z

Spule L = ---------------- (mH)

                        2 p∙ f 

Grob vereinfacht und deshalb handlicher sind folgende hinreichend genaue Näherungsformeln:

 8Ω-Näherungsformel Für 12-dB-Weichen

                              12.500

Kondensator C = ------- (µF)

                                 fc

 

                 2.000

Spule L = ------ (mH)

                    fc

 

4Ω-Näherungsformel Für 12-dB-Weichen

                               25.000

Kondensator C = ------- (µF)

                                   fc

 

                 1.000

Spule L = ------ (mH)

                   fc

 

Noch leichter ist folgender Merksatz: Gegenüber Weichen erster Ordnung halbieren sich die Kapazitäten und verdoppeln sich die Induktivitäten. Tatsächlich betragen sie in etwa das anderthalbfache bzw. zwei Drittel, durch die ungenauen, aber einprägsamen Näherungsformeln ist erste Annahme aber praxisgerechter. Ein 4 Ohm Lautsprecher mit 12dB-Weiche verhält sich also die berechneten Werte betreffend grob betrachtet wie ein 8 Ohm Lautsprecher mit 6 dB-Weiche. Da diese Näherungen im Auto recht gut funktionieren, braucht man weder umfangreiches Formelwerk, noch Tabellen oder gar einen Taschenrechner bei der Klangabstimmung.

 

 René Roland Katterwe nach oben

 
nach obennach oben
impressum :: nutzungsbedinungen ::haftungsausschluss :: sitemap
1996-2006 © by audiomap - new media agentur
Seitenüberblick Ihr Kontakt zu uns Pressebereich Werben auf audiomap.de audiomap.de als Startseite im Browser einrichten (MS IE!) audiomap.de weiterempfehlen audiomap.de bookmarken bzw. in Ihre Favoriten eintragen // NUR MS IE und NS6!